13345287774

当前位置:主页 > 新闻动态 >

新闻动态

矿井通风用正反风门装置

作者: 矿用风门来源: 互联网
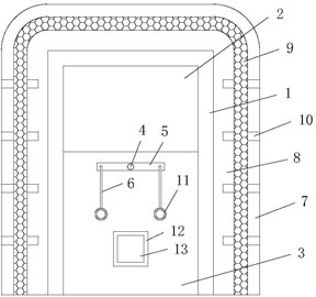
矿井通风用正反风门装置目的在于提供一种既便于开启、又能保证大型设备通过的矿井通风用正反风门装置。所采用的技术方案是:一种矿井通风用正反风门装置,包括并列设置、开启方向相反的两道风门,所述风门包括设置在门框内的上门板和下门板,所述上门板和下门板均与门框的同一侧铰接;所述下门板的上部设置容纳转轴的通孔,所述转轴与下门板垂直、且两端对称焊接有限位杆,所述限位杆的两端设置拉绳;所述门框与巷道壁之间设置砖混结构墙体,所述砖混结构墙体与巷道壁之间设置间隙,所述间隙内填充煤矿用充填材料,所述砖混结构墙体通过锚杆与巷道壁固接。本实用新型既便于开启、又能保证大型设备通过。
矿井通风用正反风门装置
矿井通风用正反风门装置,包括并列设置、开启方向相反的两道风门,所述风门包括设置在门框内的上门板和下门板,所述上门板和下门板均与门框的同一侧铰接;所述下门板的上部设置容纳转轴的通孔,所述转轴与下门板垂直、且两端对称焊接有限位杆,所述限位杆的两端设置拉绳;所述门框与巷道壁之间设置砖混结构墙体,所述砖混结构墙体与巷道壁之间设置间隙,所述间隙内填充煤矿用充填材料,所述砖混结构墙体通过锚杆与巷道壁固接。
 
矿井通风用正反风门装置有益效果集中体现在,本实用新型在门框内设置了上门板和下门板,下门板的上部设置有可绕转轴转动的限位杆;当需要通行大型设备时,拉动限位杆一端的拉绳,使限位杆垂直于地面,限位杆可以起到支撑上门板的作用,推动下门板,即可同时打开上门板和下门板,使大型设备顺利通过;当仅有行人通行时,拉动限位杆上端的拉绳,使限位杆恢复水平状态,此时推动下门板则只会打开下门板,使推动的门板的重量大大降低,行人通行更加方便。且上门板和下门板各自与门框铰接,安装时可分别依次进行安装,由于降低了每块门板的重量,安装更加容易,也更加便于搬运。此外,本实用新型在门框与巷道壁之间设置了砖混结构墙体,并在砖混结构墙体与巷道壁之间设置容纳煤矿用充填材料的间隙,使得本实用新型的抗压性能大大提升,可以避免门框和风门在巷道壁的挤压下发生变形,从而提高了稳定性和安全性,并减少了维护量,降低了维护成本。

本站关键词:平衡无压风门,矿用无压风门,无压风门,无压平衡风门,矿用风门
Copyright © 2019-2022 山东矿用风门厂家 信息采集与互联网,如有版权侵犯请留言告知 无压风门 矿用风门 防水密闭门|